YB43(1)X固定比例式减压阀概述:
YB43(1)X固定比例式减压阀要由阀体、进口法兰、活塞、大缸套、小缸套、出口法兰及O型圈、密封垫等零件组成。比例式减压阀是利用阀内浮动活塞两端不同的截面积构成了阀前与阀后的压力差,改变阀后的压力达到减压目的。比例式减压阀结构独特、性能优越、流量大、开关平稳、无噪声、减压比例稳定、即“减动压”又“减静压”,并且有减少乃至消除“水锤”现象对管件与供水器具的破坏,消除不必要的振动,节约水源保护管网的作用。比例式减压阀标准压力比为2:1、3:1、4:1、5:1、3:5:2等并可根据用户的要求设计特殊比例的减压阀。
YB43(1)X固定比例式减压阀适用范围:
当前减压阀系列产品适用于城建、化工、冶金、石油、制药、食品、饮料、环保等行业。
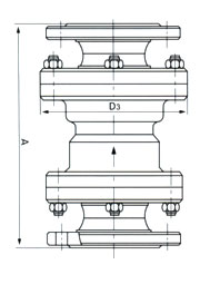
YB43(1)X固定比例式减压阀外形尺寸单位mm
|
公称通径 |
A |
D3 |
|
25 |
232 |
115/125 |
|
32 |
246 |
140/150 |
|
40 |
256 |
150/155 |
|
50 |
270 |
165/175 |
|
65 |
306 |
185/200 |
|
80 |
320 |
210/230 |
|
100 |
340 |
240/265 |
|
125 |
400 |
275/300 |
|
150 |
429 |
310/350 |
|
200 |
358 |
355/400 |
迦百农公司温馨提醒:以上所有资料仅供参考,具体参数请电话咨询!电话热线:021-66093326
永续经营,创造卓越
JBN-YB43(1)X固定比例式减压阀
YB43(1)X固定比例式减压阀外形结构图: